|
|
1 рік тому | |
|---|---|---|
| .image | 1 рік тому | |
| bin | 1 рік тому | |
| build | 1 рік тому | |
| public | 1 рік тому | |
| src | 1 рік тому | |
| .dockerignore | 1 рік тому | |
| .editorconfig | 1 рік тому | |
| .env.dev | 1 рік тому | |
| .env.front | 1 рік тому | |
| .env.prod | 1 рік тому | |
| .env.stage | 1 рік тому | |
| .env.static | 1 рік тому | |
| .eslintignore | 1 рік тому | |
| .eslintrc.js | 1 рік тому | |
| .gitignore | 1 рік тому | |
| .npmrc | 1 рік тому | |
| Dockerfile | 1 рік тому | |
| Jenkinsfile | 1 рік тому | |
| LICENSE | 1 рік тому | |
| README.md | 1 рік тому | |
| babel.config.js | 1 рік тому | |
| nginx.conf | 1 рік тому | |
| package.json | 1 рік тому | |
| vue.config.js | 1 рік тому | |
| yarn.lock | 1 рік тому |
严肃声明:现在、未来都不会有商业版本,所有代码全部开源!!
「我喜欢写代码,乐此不疲」
「我喜欢做开源,以此为乐」
我 🐶 在上海艰苦奋斗,早中晚在 top3 大厂认真搬砖,夜里为开源做贡献。
如果这个项目让你有所收获,记得 Star 关注哦,这对我是非常不错的鼓励与支持。
芋道,以开发者为中心,打造中国第一流的快速开发平台,全部开源,个人与企业可 100% 免费使用。
| 框架 | 说明 | 版本 | 学习指南 |
|---|---|---|---|
| Node | JavaScript 运行时环境 | >= 12 | - |
| Vue | JavaScript 框架 | 2.7.14 | 书单 |
| Vue Element Admin | 后台前端解决方案 | 2.5.10 |
支持 Spring Boot、Spring Cloud 两种架构:
① Spring Boot 单体架构:https://github.com/YunaiV/ruoyi-vue-pro
② Spring Cloud 微服务架构:https://github.com/YunaiV/yudao-cloud
系统内置多种多种业务功能,可以用于快速你的业务系统:
| 功能 | 描述 | |
|---|---|---|
| 用户管理 | 用户是系统操作者,该功能主要完成系统用户配置 | |
| ⭐️ | 在线用户 | 当前系统中活跃用户状态监控,支持手动踢下线 |
| 角色管理 | 角色菜单权限分配、设置角色按机构进行数据范围权限划分 | |
| 菜单管理 | 配置系统菜单、操作权限、按钮权限标识等,本地缓存提供性能 | |
| 部门管理 | 配置系统组织机构(公司、部门、小组),树结构展现支持数据权限 | |
| 岗位管理 | 配置系统用户所属担任职务 | |
| 🚀 | 租户管理 | 配置系统租户,支持 SaaS 场景下的多租户功能 |
| 🚀 | 租户套餐 | 配置租户套餐,自定每个租户的菜单、操作、按钮的权限 |
| 字典管理 | 对系统中经常使用的一些较为固定的数据进行维护 | |
| 🚀 | 短信管理 | 短信渠道、短息模板、短信日志,对接阿里云、腾讯云等主流短信平台 |
| 🚀 | 邮件管理 | 邮箱账号、邮件模版、邮件发送日志,支持所有邮件平台 |
| 🚀 | 站内信 | 系统内的消息通知,提供站内信模版、站内信消息 |
| 🚀 | 操作日志 | 系统正常操作日志记录和查询,集成 Swagger 生成日志内容 |
| ⭐️ | 登录日志 | 系统登录日志记录查询,包含登录异常 |
| 🚀 | 错误码管理 | 系统所有错误码的管理,可在线修改错误提示,无需重启服务 |
| 通知公告 | 系统通知公告信息发布维护 | |
| 🚀 | 敏感词 | 配置系统敏感词,支持标签分组 |
| 🚀 | 应用管理 | 管理 SSO 单点登录的应用,支持多种 OAuth2 授权方式 |
| 🚀 | 地区管理 | 展示省份、城市、区镇等城市信息,支持 IP 对应城市 |
| 功能 | 描述 | |
|---|---|---|
| 🚀 | 流程模型 | 配置工作流的流程模型,支持文件导入与在线设计流程图,提供 7 种任务分配规则 |
| 🚀 | 流程表单 | 拖动表单元素生成相应的工作流表单,覆盖 Element UI 所有的表单组件 |
| 🚀 | 用户分组 | 自定义用户分组,可用于工作流的审批分组 |
| 🚀 | 我的流程 | 查看我发起的工作流程,支持新建、取消流程等操作,高亮流程图、审批时间线 |
| 🚀 | 待办任务 | 查看自己【未】审批的工作任务,支持通过、不通过、转发、委派、退回等操作 |
| 🚀 | 已办任务 | 查看自己【已】审批的工作任务,未来会支持回退操作 |
| 🚀 | OA 请假 | 作为业务自定义接入工作流的使用示例,只需创建请求对应的工作流程,即可进行审批 |
| 功能 | 描述 | |
|---|---|---|
| 🚀 | 商户信息 | 管理商户信息,支持 Saas 场景下的多商户功能 |
| 🚀 | 应用信息 | 配置商户的应用信息,对接支付宝、微信等多个支付渠道 |
| 🚀 | 支付订单 | 查看用户发起的支付宝、微信等的【支付】订单 |
| 🚀 | 退款订单 | 查看用户发起的支付宝、微信等的【退款】订单 |
| 🚀 | 接入示例 | 提供接入支付系统的【支付】【退款】的功能实战 |
| 功能 | 描述 | |
|---|---|---|
| 🚀 | 代码生成 | 前后端代码的生成(Java、Vue、SQL、单元测试),支持 CRUD 下载 |
| 🚀 | 系统接口 | 基于 Swagger 自动生成相关的 RESTful API 接口文档 |
| 🚀 | 数据库文档 | 基于 Screw 自动生成数据库文档,支持导出 Word、HTML、MD 格式 |
| 表单构建 | 拖动表单元素生成相应的 HTML 代码,支持导出 JSON、Vue 文件 | |
| 🚀 | 配置管理 | 对系统动态配置常用参数,支持 SpringBoot 加载 |
| ⭐️ | 定时任务 | 在线(添加、修改、删除)任务调度包含执行结果日志 |
| 🚀 | 文件服务 | 支持将文件存储到 S3(MinIO、阿里云、腾讯云、七牛云)、本地、FTP、数据库等 |
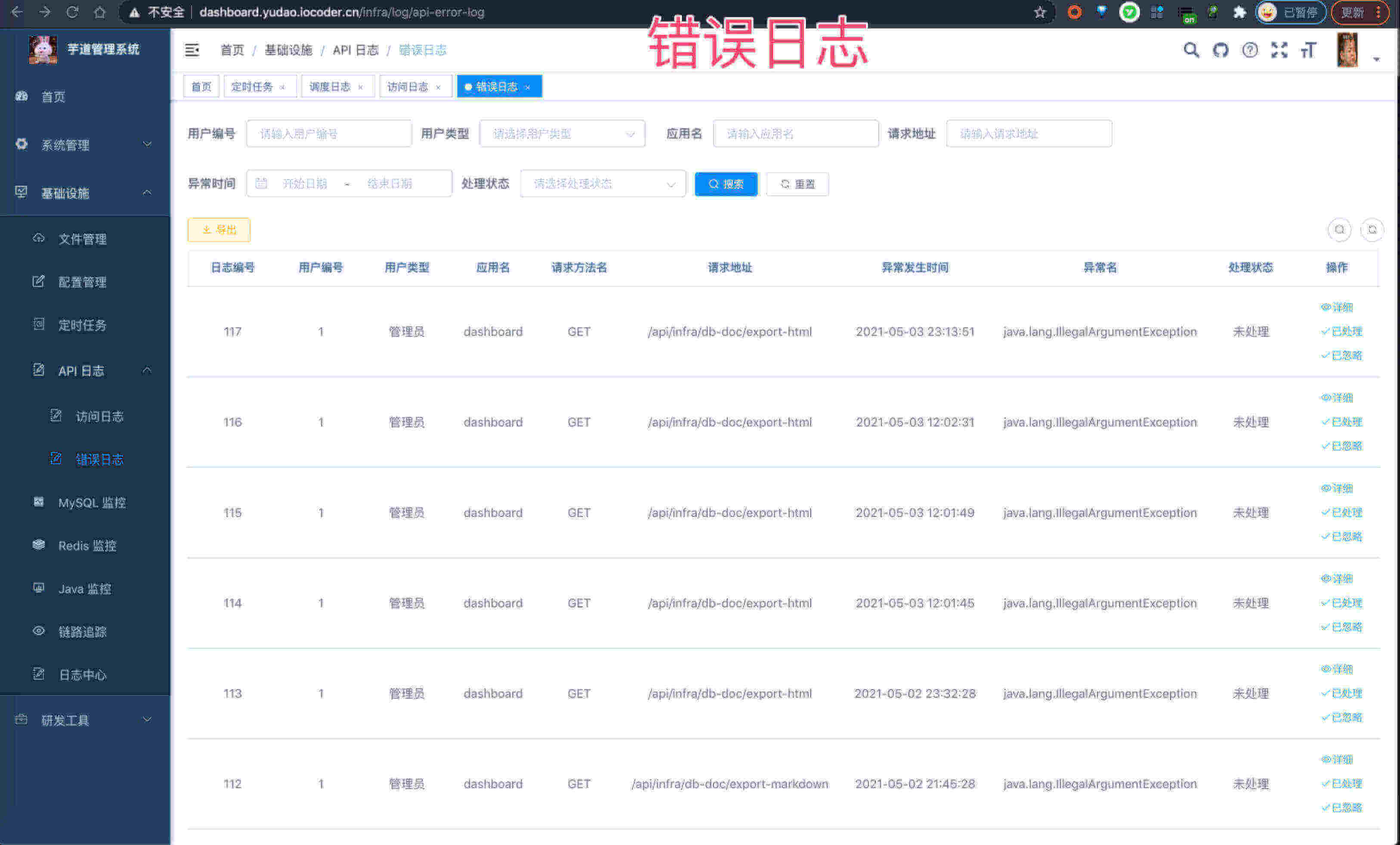
| 🚀 | API 日志 | 包括 RESTful API 访问日志、异常日志两部分,方便排查 API 相关的问题 |
| MySQL 监控 | 监视当前系统数据库连接池状态,可进行分析SQL找出系统性能瓶颈 | |
| Redis 监控 | 监控 Redis 数据库的使用情况,使用的 Redis Key 管理 | |
| 🚀 | 消息队列 | 基于 Redis 实现消息队列,Stream 提供集群消费,Pub/Sub 提供广播消费 |
| 🚀 | Java 监控 | 基于 Spring Boot Admin 实现 Java 应用的监控 |
| 🚀 | 链路追踪 | 接入 SkyWalking 组件,实现链路追踪 |
| 🚀 | 日志中心 | 接入 SkyWalking 组件,实现日志中心 |
| 🚀 | 服务保障 | 基于 Redis 实现分布式锁、幂等、限流功能,满足高并发场景 |
| 🚀 | 日志服务 | 轻量级日志中心,查看远程服务器的日志 |
| 🚀 | 单元测试 | 基于 JUnit + Mockito 实现单元测试,保证功能的正确性、代码的质量等 |
| 功能 | 描述 | |
|---|---|---|
| 🚀 | 报表设计器 | 支持数据报表、图形报表、打印设计等 |
| 🚀 | 大屏设计器 | 拖拽生成数据大屏,内置几十种图表组件 |
| 功能 | 描述 | |
|---|---|---|
| 🚀 | 账号管理 | 配置接入的微信公众号,可支持多个公众号 |
| 🚀 | 数据统计 | 统计公众号的用户增减、累计用户、消息概况、接口分析等数据 |
| 🚀 | 粉丝管理 | 查看已关注、取关的粉丝列表,可对粉丝进行同步、打标签等操作 |
| 🚀 | 消息管理 | 查看粉丝发送的消息列表,可主动回复粉丝消息 |
| 🚀 | 自动回复 | 自动回复粉丝发送的消息,支持关注回复、消息回复、关键字回复 |
| 🚀 | 标签管理 | 对公众号的标签进行创建、查询、修改、删除等操作 |
| 🚀 | 菜单管理 | 自定义公众号的菜单,也可以从公众号同步菜单 |
| 🚀 | 素材管理 | 管理公众号的图片、语音、视频等素材,支持在线播放语音、视频 |
| 🚀 | 图文草稿箱 | 新增常用的图文素材到草稿箱,可发布到公众号 |
| 🚀 | 图文发表记录 | 查看已发布成功的图文素材,支持删除操作 |
前端基于 crmeb uniapp 经过授权重构,优化代码实现,接入芋道快速开发平台
演示地址:https://doc.iocoder.cn/mall-preview/
演示地址:https://doc.iocoder.cn/erp-preview/
演示地址:https://doc.iocoder.cn/crm-preview/
| 模块 | biu | biu | biu |
|---|---|---|---|
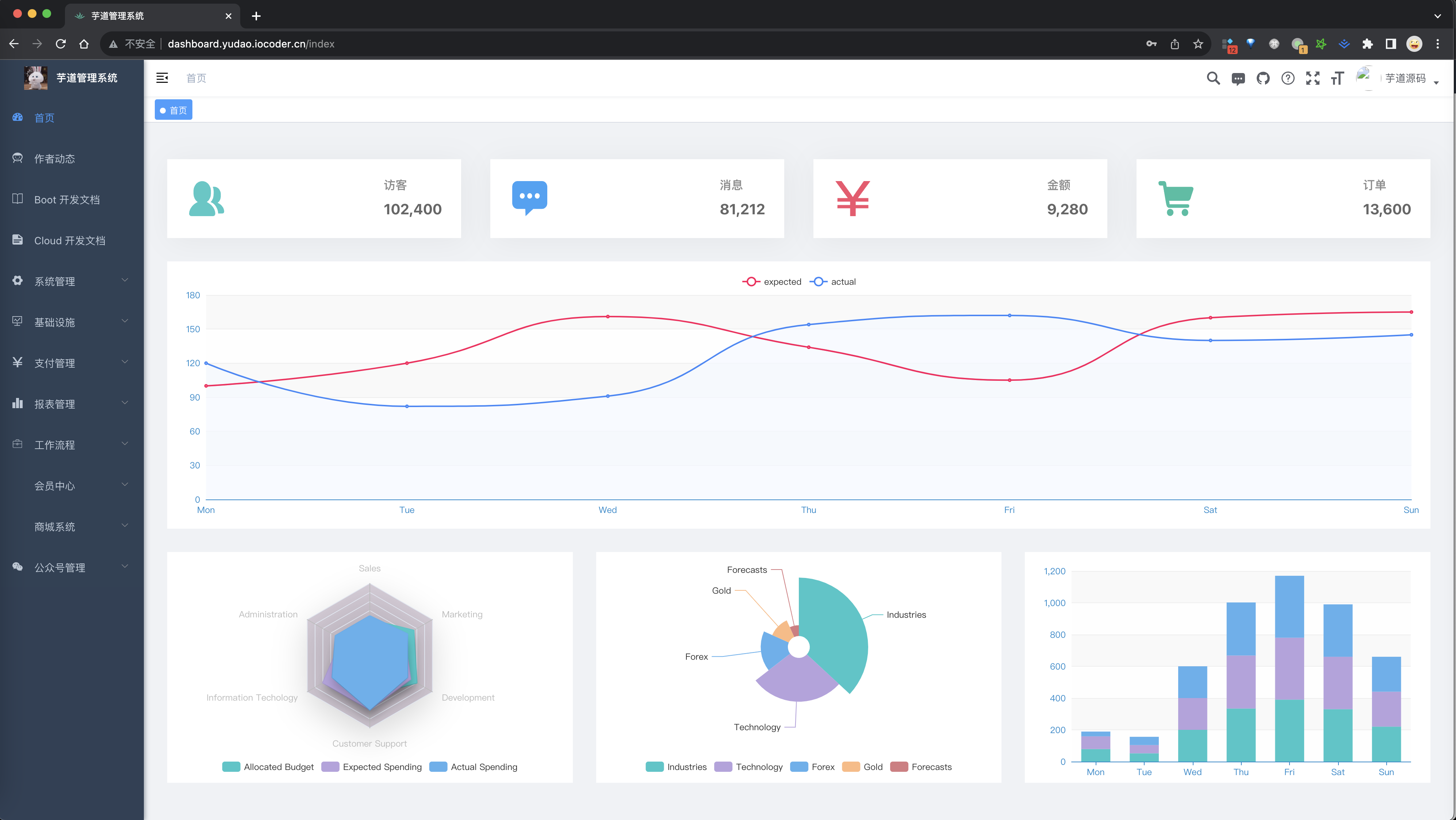
| 登录 & 首页 | ![]() |
![]() |
![]() |
| 用户 & 应用 | ![]() |
![]() |
![]() |
| 租户 & 套餐 | ![]() |
![]() |
- |
| 部门 & 岗位 | ![]() |
![]() |
- |
| 菜单 & 角色 | ![]() |
![]() |
- |
| 审计日志 | ![]() |
![]() |
- |
| 短信 | ![]() |
![]() |
![]() |
| 字典 & 敏感词 | ![]() |
![]() |
![]() |
| 错误码 & 通知 | ![]() |
![]() |
- |
| 模块 | biu | biu | biu |
|---|---|---|---|
| 流程模型 | ![]() |
![]() |
![]() |
| 表单 & 分组 | ![]() |
![]() |
- |
| 我的流程 | ![]() |
![]() |
![]() |
| 待办 & 已办 | ![]() |
![]() |
![]() |
| OA 请假 | ![]() |
![]() |
![]() |
| 模块 | biu | biu | biu |
|---|---|---|---|
| 代码生成 | ![]() |
![]() |
- |
| 文档 | ![]() |
![]() |
- |
| 文件 & 配置 | ![]() |
![]() |
![]() |
| 定时任务 | ![]() |
![]() |
- |
| API 日志 | ![]() |
![]() |
- |
| MySQL & Redis | ![]() |
![]() |
- |
| 监控平台 | ![]() |
![]() |
![]() |
| 模块 | biu | biu | biu |
|---|---|---|---|
| 商家 & 应用 | ![]() |
![]() |
![]() |
| 支付 & 退款 | ![]() |
![]() |
--- |
| 模块 | biu | biu | biu |
|---|---|---|---|
| 报表设计器 | ![]() |
![]() |
![]() |
| 大屏设计器 | ![]() |
![]() |
![]() |