云微企PC版本

dongpo bda275a381 1、钉钉部署使用钉钉安全域名 преди 1 година
.image e6fe4d9122 项目迁移 преди 1 година
bin e6fe4d9122 项目迁移 преди 1 година
build e6fe4d9122 项目迁移 преди 1 година
public 37b2b76133 1、更换logo图标 преди 1 година
src 79b7a6f153 1、产品名称修改为:云微企 преди 1 година
.dockerignore e6fe4d9122 项目迁移 преди 1 година
.editorconfig e6fe4d9122 项目迁移 преди 1 година
.env.dev 79b7a6f153 1、产品名称修改为:云微企 преди 1 година
.env.front e6fe4d9122 项目迁移 преди 1 година
.env.prod bda275a381 1、钉钉部署使用钉钉安全域名 преди 1 година
.env.stage e6fe4d9122 项目迁移 преди 1 година
.env.static e6fe4d9122 项目迁移 преди 1 година
.eslintignore e6fe4d9122 项目迁移 преди 1 година
.eslintrc.js e6fe4d9122 项目迁移 преди 1 година
.gitignore 677415972b 修改 преди 1 година
.npmrc e6fe4d9122 项目迁移 преди 1 година
Dockerfile e6fe4d9122 项目迁移 преди 1 година
Jenkinsfile e6fe4d9122 项目迁移 преди 1 година
LICENSE e6fe4d9122 项目迁移 преди 1 година
README.md e6fe4d9122 项目迁移 преди 1 година
babel.config.js e6fe4d9122 项目迁移 преди 1 година
nginx.conf e6fe4d9122 项目迁移 преди 1 година
package.json 2fc17387ce 钉钉登录授权 преди 1 година
vue.config.js e6fe4d9122 项目迁移 преди 1 година
yarn.lock 2fc17387ce 钉钉登录授权 преди 1 година

README.md

严肃声明:现在、未来都不会有商业版本,所有代码全部开源!!

「我喜欢写代码,乐此不疲」
「我喜欢做开源,以此为乐」

我 🐶 在上海艰苦奋斗,早中晚在 top3 大厂认真搬砖,夜里为开源做贡献。

如果这个项目让你有所收获,记得 Star 关注哦,这对我是非常不错的鼓励与支持。

🐶 新手必读

🐯 平台简介

芋道,以开发者为中心,打造中国第一流的快速开发平台,全部开源,个人与企业可 100% 免费使用。

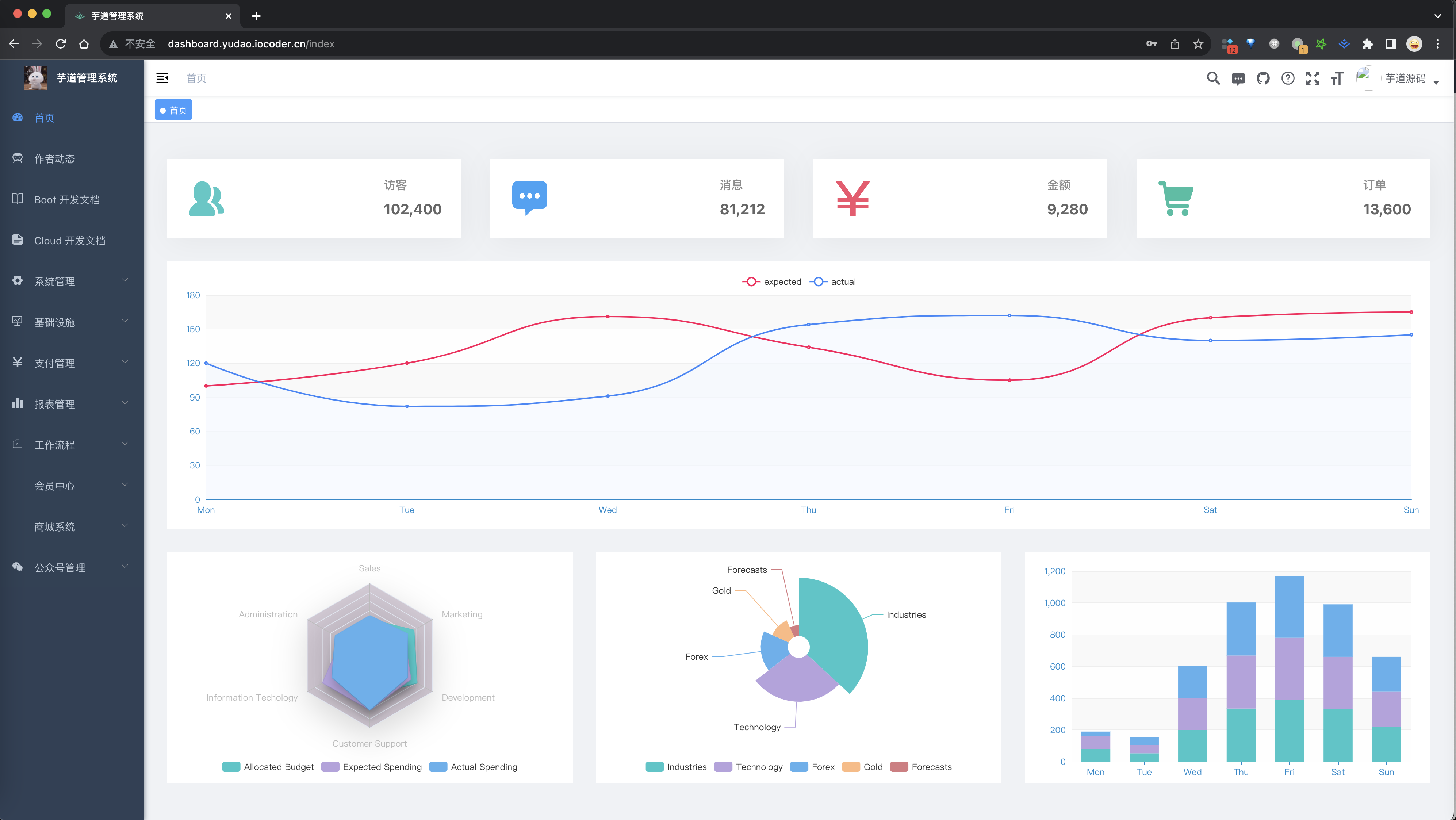
首页

技术栈

框架 说明 版本 学习指南
Node JavaScript 运行时环境 >= 12 -
Vue JavaScript 框架 2.7.14 书单
Vue Element Admin 后台前端解决方案 2.5.10

🔥 后端架构

支持 Spring Boot、Spring Cloud 两种架构:

① Spring Boot 单体架构:https://github.com/YunaiV/ruoyi-vue-pro

架构图

② Spring Cloud 微服务架构:https://github.com/YunaiV/yudao-cloud

架构图

内置功能

系统内置多种多种业务功能,可以用于快速你的业务系统:

  • 系统功能
  • 基础设施
  • 工作流程
  • 支付系统
  • 会员中心
  • 数据报表
  • 商城系统
  • 微信公众号
  • ERP 系统
  • CRM 系统

系统功能

功能 描述
用户管理 用户是系统操作者,该功能主要完成系统用户配置
⭐️ 在线用户 当前系统中活跃用户状态监控,支持手动踢下线
角色管理 角色菜单权限分配、设置角色按机构进行数据范围权限划分
菜单管理 配置系统菜单、操作权限、按钮权限标识等,本地缓存提供性能
部门管理 配置系统组织机构(公司、部门、小组),树结构展现支持数据权限
岗位管理 配置系统用户所属担任职务
🚀 租户管理 配置系统租户,支持 SaaS 场景下的多租户功能
🚀 租户套餐 配置租户套餐,自定每个租户的菜单、操作、按钮的权限
字典管理 对系统中经常使用的一些较为固定的数据进行维护
🚀 短信管理 短信渠道、短息模板、短信日志,对接阿里云、腾讯云等主流短信平台
🚀 邮件管理 邮箱账号、邮件模版、邮件发送日志,支持所有邮件平台
🚀 站内信 系统内的消息通知,提供站内信模版、站内信消息
🚀 操作日志 系统正常操作日志记录和查询,集成 Swagger 生成日志内容
⭐️ 登录日志 系统登录日志记录查询,包含登录异常
🚀 错误码管理 系统所有错误码的管理,可在线修改错误提示,无需重启服务
通知公告 系统通知公告信息发布维护
🚀 敏感词 配置系统敏感词,支持标签分组
🚀 应用管理 管理 SSO 单点登录的应用,支持多种 OAuth2 授权方式
🚀 地区管理 展示省份、城市、区镇等城市信息,支持 IP 对应城市

功能图

工作流程

功能 描述
🚀 流程模型 配置工作流的流程模型,支持文件导入与在线设计流程图,提供 7 种任务分配规则
🚀 流程表单 拖动表单元素生成相应的工作流表单,覆盖 Element UI 所有的表单组件
🚀 用户分组 自定义用户分组,可用于工作流的审批分组
🚀 我的流程 查看我发起的工作流程,支持新建、取消流程等操作,高亮流程图、审批时间线
🚀 待办任务 查看自己【未】审批的工作任务,支持通过、不通过、转发、委派、退回等操作
🚀 已办任务 查看自己【已】审批的工作任务,未来会支持回退操作
🚀 OA 请假 作为业务自定义接入工作流的使用示例,只需创建请求对应的工作流程,即可进行审批

功能图

支付系统

功能 描述
🚀 商户信息 管理商户信息,支持 Saas 场景下的多商户功能
🚀 应用信息 配置商户的应用信息,对接支付宝、微信等多个支付渠道
🚀 支付订单 查看用户发起的支付宝、微信等的【支付】订单
🚀 退款订单 查看用户发起的支付宝、微信等的【退款】订单
🚀 接入示例 提供接入支付系统的【支付】【退款】的功能实战

基础设施

功能 描述
🚀 代码生成 前后端代码的生成(Java、Vue、SQL、单元测试),支持 CRUD 下载
🚀 系统接口 基于 Swagger 自动生成相关的 RESTful API 接口文档
🚀 数据库文档 基于 Screw 自动生成数据库文档,支持导出 Word、HTML、MD 格式
表单构建 拖动表单元素生成相应的 HTML 代码,支持导出 JSON、Vue 文件
🚀 配置管理 对系统动态配置常用参数,支持 SpringBoot 加载
⭐️ 定时任务 在线(添加、修改、删除)任务调度包含执行结果日志
🚀 文件服务 支持将文件存储到 S3(MinIO、阿里云、腾讯云、七牛云)、本地、FTP、数据库等
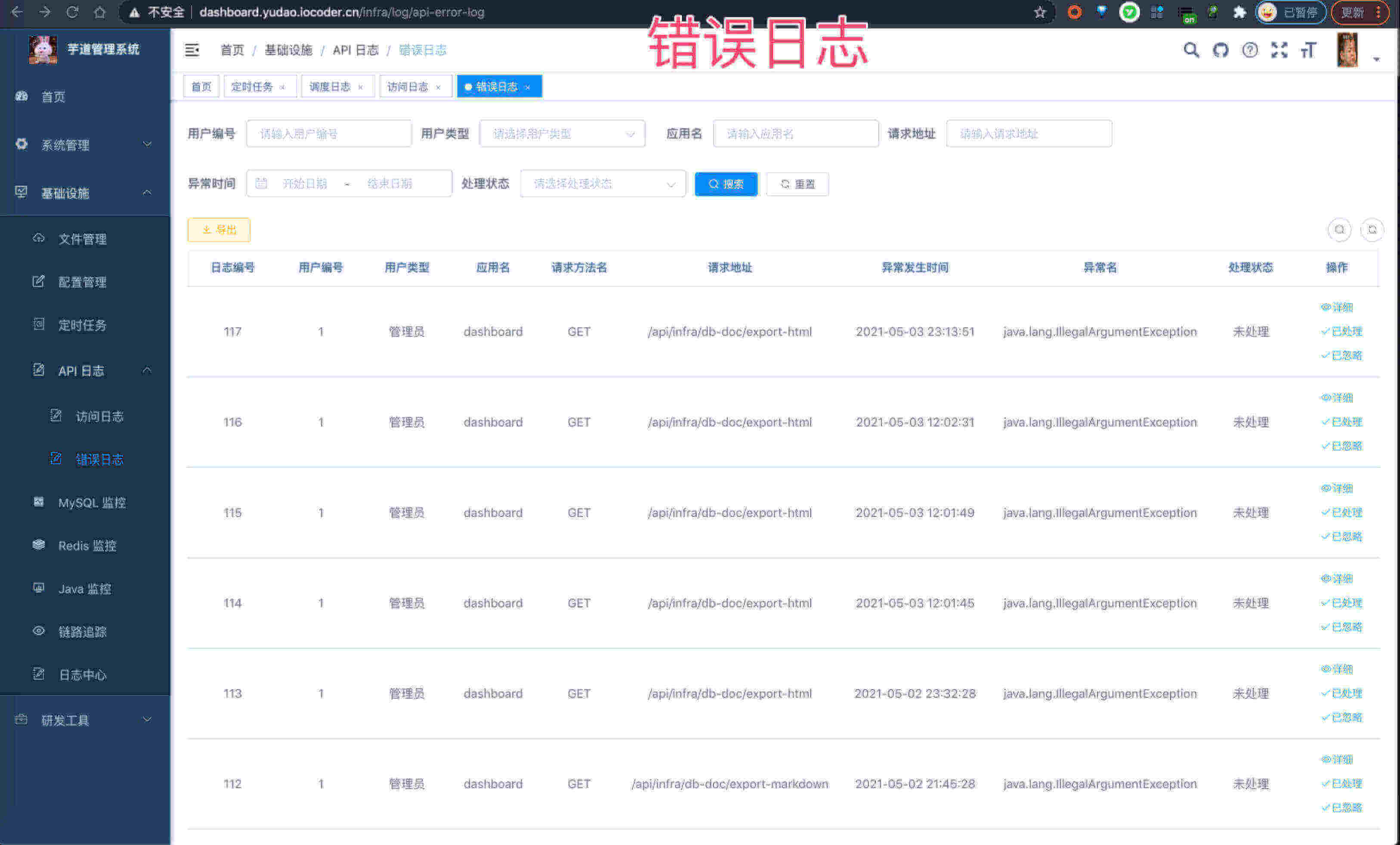
🚀 API 日志 包括 RESTful API 访问日志、异常日志两部分,方便排查 API 相关的问题
MySQL 监控 监视当前系统数据库连接池状态,可进行分析SQL找出系统性能瓶颈
Redis 监控 监控 Redis 数据库的使用情况,使用的 Redis Key 管理
🚀 消息队列 基于 Redis 实现消息队列,Stream 提供集群消费,Pub/Sub 提供广播消费
🚀 Java 监控 基于 Spring Boot Admin 实现 Java 应用的监控
🚀 链路追踪 接入 SkyWalking 组件,实现链路追踪
🚀 日志中心 接入 SkyWalking 组件,实现日志中心
🚀 服务保障 基于 Redis 实现分布式锁、幂等、限流功能,满足高并发场景
🚀 日志服务 轻量级日志中心,查看远程服务器的日志
🚀 单元测试 基于 JUnit + Mockito 实现单元测试,保证功能的正确性、代码的质量等

功能图

数据报表

功能 描述
🚀 报表设计器 支持数据报表、图形报表、打印设计等
🚀 大屏设计器 拖拽生成数据大屏,内置几十种图表组件

微信公众号

功能 描述
🚀 账号管理 配置接入的微信公众号,可支持多个公众号
🚀 数据统计 统计公众号的用户增减、累计用户、消息概况、接口分析等数据
🚀 粉丝管理 查看已关注、取关的粉丝列表,可对粉丝进行同步、打标签等操作
🚀 消息管理 查看粉丝发送的消息列表,可主动回复粉丝消息
🚀 自动回复 自动回复粉丝发送的消息,支持关注回复、消息回复、关键字回复
🚀 标签管理 对公众号的标签进行创建、查询、修改、删除等操作
🚀 菜单管理 自定义公众号的菜单,也可以从公众号同步菜单
🚀 素材管理 管理公众号的图片、语音、视频等素材,支持在线播放语音、视频
🚀 图文草稿箱 新增常用的图文素材到草稿箱,可发布到公众号
🚀 图文发表记录 查看已发布成功的图文素材,支持删除操作

商城系统

功能图

功能图

前端基于 crmeb uniapp 经过授权重构,优化代码实现,接入芋道快速开发平台

演示地址:https://doc.iocoder.cn/mall-preview/

ERP 系统

功能图

演示地址:https://doc.iocoder.cn/erp-preview/

CRM 系统

功能图

演示地址:https://doc.iocoder.cn/crm-preview/

🐷 演示图

系统功能

模块 biu biu biu
登录 & 首页 登录 首页 个人中心
用户 & 应用 用户管理 令牌管理 应用管理
租户 & 套餐 租户管理 租户套餐 -
部门 & 岗位 部门管理 岗位管理 -
菜单 & 角色 菜单管理 角色管理 -
审计日志 操作日志 登录日志 -
短信 短信渠道 短信模板 短信日志
字典 & 敏感词 字典类型 字典数据 敏感词
错误码 & 通知 错误码管理 通知公告 -

工作流程

模块 biu biu biu
流程模型 流程模型-列表 流程模型-设计 流程模型-定义
表单 & 分组 流程表单 用户分组 -
我的流程 我的流程-列表 我的流程-发起 我的流程-详情
待办 & 已办 任务列表-审批 任务列表-待办 任务列表-已办
OA 请假 OA请假-列表 OA请假-发起 OA请假-详情

基础设施

模块 biu biu biu
代码生成 代码生成 生成效果 -
文档 系统接口 数据库文档 -
文件 & 配置 文件配置 文件管理 配置管理
定时任务 定时任务 任务日志 -
API 日志 访问日志 错误日志 -
MySQL & Redis MySQL Redis -
监控平台 Java监控 链路追踪 日志中心

支付系统

模块 biu biu biu
商家 & 应用 商户信息 应用信息-列表 应用信息-编辑
支付 & 退款 支付订单 退款订单 ---

数据报表

模块 biu biu biu
报表设计器 数据报表 图形报表 报表设计器-打印设计
大屏设计器 大屏列表 大屏预览 大屏编辑